【物理2026:共通テスト】慣性力、衝突とばね、熱力学の良問3題

高校物理

共通テストの過去問は「一度解いたら終わり」と思われがちですが、実際には 基礎の本質を丁寧に問う良問の宝庫 です。
繰り返し解くほど理解が深まり、どんな問題にも対応できる“揺るぎない土台”が育っていきます。

今回取り上げる3題──慣性力・衝突とばね・熱力学──はいずれも
「現象をどう捉えるか」 を静かに問いかけてくる問題です。
一見シンプルでも、手を動かすたびに新しい発見があり、学びの幹が太くなっていきます。

この記事は、そんな「何度でも解きたくなる過去問」を目指してまとめました。
読み返すたびに見える景色が変わる、その感覚を一緒に積み重ねていきましょう。

第1問-3 慣性力

締め切ったバスの車内で、黒丸●点を固定してヘリウム風船と二酸化炭素風船がある(図1)。
バスが一定加速度で右方向に加速すると、図2のような向きになった。

次に、図3のようにバスが一定の半径の左カーブを一定の速さで進むとき、風船は①-⑤のどの向きになるだろうか?

まず気になる点

図2の結果を見て、

右に加速しているなら慣性力は左に働くはずなのに、なぜ風船は右に動くの?

と戸惑うかもしれません。ただ、この問題では理由を深く掘り下げなくても解答できます。図2の “実験結果” を素直に受け止めて、図3に応用すればよいです。


解答:②が正解

図2では右加速→ヘリウム風船は右へ
つまり ヘリウム風船は加速方向と同じ側に寄る

図3ではカメラから見て左側(=カーブの中心方向)に加速している。

②が正解


解説:ヘリウムは空気より軽いから

ヘリウムは空気より軽いため、見かけの重力(=慣性力)とは逆の方向に動きます。
慣性力に対して「浮いている」ということです。

詳しい説明は以下のサイトがとても分かりやすいです。
電車内のヘリウム風船 | Physicmath(フィジクマス)


第2問-2,3 衝突とばね

図1のように、

  • 質量 $m$ の物体 $\mathrm{A}$ が速度 $v_0$ で
  • 質量 $M$ の物体 $\mathrm{B1}$ に
  • 弾性衝突する。

衝突後、

  • $\mathrm{A}$ の速度は $v$
  • $\mathrm{B1}$ の速度は $V_1$

その後、$\mathrm{B1}$, ばね定数 $k$ のばね, $\mathrm{B2}$ は伸び縮みしながら動き、$\mathrm{A}$ とは再衝突しない。

図2では図3のように、$\mathrm{B1}$, ばね, $\mathrm{B2}$ を一つの物体とみなして、質量 $2M$ の物体 $\mathrm{B}$ とみなす。

(1) $v$, $V_1$ を求めよ。

(2) $V$ を求めよ。
$V$ は、$\mathrm{B1}$ の運動量と $\mathrm{B2}$ の運動量の和を $\mathrm{B}$ の運動量とし、$\mathrm{B}$ の運動量を $\mathrm{B}$ の質量 $2M$ で割った量である。

(3) 衝突後の $\mathrm{B}$ の速度を $V$ とすると、
$\mathrm{A}$ と $\mathrm{B}$ の間の反発係数は、

$(\mathrm{a})\;\dfrac{V}{v_0}$, $(\mathrm{b})\;\dfrac{2V-v}{v_0}$, $(\mathrm{c})\;\dfrac{V-v}{v_0}$, $(\mathrm{d})\;\dfrac{v-V}{v_0}$

(4) その値は、[(e) 1である, (f) 1より小さい]。

物体 $\mathrm{A}$ と物体 $\mathrm{B1}$ は弾性衝突ですが、$\mathrm{B1}$, $\mathrm{B2}$ を一体としてみた $\mathrm{B}$ との衝突と見た場合には、弾性衝突のままでしょうか?違うのでしょうか?そこを (4) で問うています。直感的に「(f) 1より小さい」(弾性衝突ではない)と分かると思います(解説参照)が、それを論理立てて考察する問題です。


一気通貫アニメーション

この衝突現象を一気通貫アニメーションで確認します。〇が物体 $\mathrm{A}$、●が物体 $\mathrm{B1}$, $\mathrm{B2}$ です。ばねは省略しています。

〇が $v_0$ で接近して●に衝突。弾性衝突ですが、重さに差があるため〇は動き続けます(右に動いているのでここでは $m>M$ です)。
衝突直後の●は $V_1$ で勢いよく右に弾かれますが、ばねを介して $\mathrm{B2}$ も動かさないといけないので、全体としての速度は落ちます。その速度 $V$ を (2) で求めさせています。

この移動を、時間 $t$ を横軸にとってグラフ化すると下記のようになります。

青の細い線の傾きが $V_1$ を表していますが、全体の動きは(2)で求めるように $\dfrac{V_1}{2}$ で、黄色の線の傾きです。


解(1) $v$, $V_1$ を求めよ

運動量は保存し、相対速度は $e$ 倍になります。いま、$e=1$ なので、

\begin{eqnarray}
\left\{\begin{array}{l}
mv_0 = mv+MV_1\\
1 = \dfrac{V_1-v}{v_0}
\end{array}\right.
\end{eqnarray}

これを解いて

$v=\dfrac{m-M}{m+M}v_0$, $V_1=\dfrac{2m}{m+M}v_0$


解(2) $V$ を求めよ

問題文で:

$V$ は、$\mathrm{B1}$ の運動量と $\mathrm{B2}$ の運動量の和を $\mathrm{B}$ の運動量とし、$\mathrm{B}$ の運動量を $\mathrm{B}$ の質量 $2M$ で割った量である。

とヒントが出されていますので、それに従って求めます。

  • $\mathrm{B1}$ の運動量($MV_1$)と $\mathrm{B2}$ の運動量($0$)の和:$MV_1$
  • $\mathrm{B}$ の質量 $2M$ で割る:$\dfrac{V_1}{2}$

よって、

$$V=\frac{V_1}{2}$$


解(3) $\mathrm{A}$ と $\mathrm{B}$ の反発係数 $e^\prime$

反発係数は、衝突前の相対速度と衝突後の相対速度の比です。

  • 衝突前の相対速度:$v_0$
  • 衝突後の相対速度:$V-v$

よって反発係数 $e^\prime$ は、

$$e^\prime=\frac{V-v}{v_0}$$


解(4) $e^\prime=1$ か?, $e^\prime<1$ か?

解(2) より $V=\dfrac{V_1}{2}$ なので、

$$e^\prime=\frac{\frac{V_1}{2}-v}{v_0}$$

一方、$\mathrm{A}$ と $\mathrm{B1}$ は弾性衝突 ($e=1$) なので、

$$1 = \dfrac{V_1-v}{v_0}$$

これらを比べると、

$$e^\prime = \frac{\frac{V_1}{2}-v}{v_0} < \dfrac{V_1-v}{v_0} = 1$$

よって、$e^\prime<1$。


解説. 直感的な理解:極端なケースを考える

次の極端なケースを考えて $e^\prime<1$ を理解します。

  • $m=M$
  • 物体 $\mathrm{B2}$ の質量は無限大(または固定)

このとき、

  • 物体 $\mathrm{A}$ と $\mathrm{B1}$ は弾性衝突 → $\mathrm{A}$ は停止、\mathrm{B1}$ は $v_0$
  • しかし $\mathrm{B2}$ は動かないので $\mathrm{B1}$ はその場で単振動
  • $\mathrm{B}$ 全体としては動かない → $V=0$

よって、

$$e^\prime=0$$

であり、1より小さい
このように、物事は極端なケースを考えると理解しやすいです。


アニメーションではこのようです。

●が戻ってきた際に〇と再衝突していますが、反発係数を考える上では関係ないのでここではそのことは不問とします。


関連記事

運動量保存の法則の本質はこちら:

第3問-1,2,3 熱力学

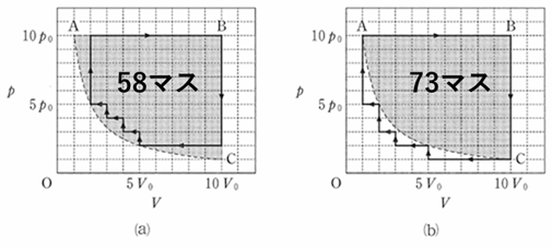
単原子分子理想気体を図1のように $\mathrm{A}→\mathrm{B}→\mathrm{C}→\mathrm{A}$ のサイクル で変化させる。

(1) $\mathrm{A}→\mathrm{B}$ の過程で外部から気体に加えた熱量 $Q_{in}$ はいくらか?

(2) サイクル $\mathrm{A}→\mathrm{B}→\mathrm{C}→\mathrm{A}$ で気体が行った仕事は図2の濃い灰色面積だが、それを (a), (b) の実線矢印のサイクルで近似する。すなわち、(a), (b) のサイクルで行った仕事の平均を気体が行った仕事 $W$ とする。$W$ を求めよ。

(3) サイクル $\mathrm{A}→\mathrm{B}→\mathrm{C}→\mathrm{A}$ で気体が外部に放出した熱量 $Q_{out}$ を、$W$ と $Q_{in}$ を用いて表せ。

(4) サイクル $\mathrm{A}→\mathrm{B}→\mathrm{C}→\mathrm{A}$ の熱効率 $\eta$ はいくらか。

解(1) $\mathrm{A}→$\mathrm{B}$ で加えた熱量 $Q_{in}$

熱力学第一法則より、
加えた熱量 $Q_{in}$ でもって気体は仕事 $W$ をして、内部エネルギー(温度)も上がる。
つまり、

$$Q_{in}=W+\Delta U$$

仕事 $W$

$W$ は、$p-V$ グラフの面積です。この場合、$\mathrm{A}→\mathrm{B}$ の定圧変化。圧力が $10p_0$ 一定で、体積が $V_0→10V_0$ と、$9V_0$ 増えています。

$$\therefore\;W=10p_0\times 9V_0=90p_0V_0$$

内部エネルギー $\Delta U$

単原子分子理想気体なので、

$$\Delta U=\dfrac32nR\Delta T$$

状態方程式より $\Delta T$ を体積変化で表すと、

$$\Delta U=\frac32p\Delta V=\frac32\cdot 10p_0\cdot 9V_0=135p_0V_0$$

よって

$$Q_{in}=W+\Delta U=90p_0V_0+135p_0V_0=225p_0V_0$$

解(2) 一サイクルで気体が行った仕事 $W$

サイクルの仕事は、$p-V$ グラフで囲まれた面積です。いま、その近似として (a), (b) それぞれでマス目を設定しているので、そのマス目を数えればよいです。それぞれ数えると:

$$\therefore\;W=\frac{58+73}{2}p_0V_0=\frac{131}{2}p_0V_0$$

解(3) $Q_{out}$ を $W$ と $Q_{in}$ で表せ

一サイクルの熱と仕事の収支は、

加えた熱量 $Q_{in}$ でもって気体は仕事 $W$ をして、余った熱量 $Q_{out}$ を外に放出する

つまり、

$$Q_{in}=W+Q_{out}$$

よって、

$$Q_{out} = Q_{in}-W$$

解(4) 熱効率 $\eta$ は?

熱効率は、

加えた熱量 $Q_{in}$ のうちどれだけが仕事 $W$ として取り出せたのか

の割合です。つまり、

$$\eta=\frac{W}{Q_{in}}$$

関連記事

内部エネルギー:$U=¥dfarc32nRT$ を導きます。

まとめ

26年度の共通テスト物理のうち、示唆に富んだ問題をピックアップして解説しました。

一つ目の「慣性力」の問題は、理由は詳しくは分からなくとも、実験結果を素直に解釈する力を問われていると感じます。

二つ目の「衝突とばね」の問題は、極端な例を考えると理解しやすいことを学びました。また、ミクロとマクロの違いも示していると思います。ミクロに衝突を見れば表面付近では弾性衝突していても、物体内部でのいろいろな相互作用によって結局マクロ的には非弾性衝突になって現れる、ということです。

三つ目の「熱力学」の問題は、問われていることはすべて非常に基本的なことです。複雑な計算も要していません。今一度基礎をしっかりと復習しましょう。

コメント

タイトルとURLをコピーしました